Simon Sound Services Cadenza Ribbon
Manufacturer:
Simon Sound ServicesModel:
Cadenza RibbonCountry of Manufacture:
United KingdomMicrophone Type:
RibbonPolar Pattern:
Figure 8Production Start Year:
1957Production End Year:
1967Rarity:
1
Microphone History:
MoMics view.
The Cadenza ribbon microphone was made in high volume and is still relatively very common and easy to find, at least in the UK. Some of them are branded EAP rather than Cadenza. Connection is made through a proprietary connector which is integrated into a tripod, which is great if you want to place it on your desk but frustrating for general use. Cadenza microphones were usually supplied in a robust hinged metal case which is perhaps one of the reasons that so many have survived. However they do not always age well and there are common issues with oxidation of the internal wiring and insulation. The transformers can be weak and noisy.
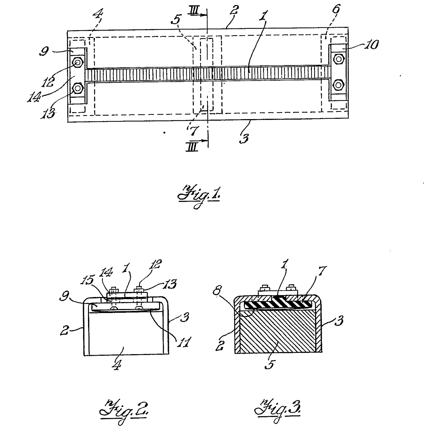
A patent for the Cadenza microphone was applied for in May 1957 and granted to Simon Equipment Ltd. in March 1959. Their claimed innovation was to glue the mid point of the ribbon to an insulated centre block and then clamp and tension each end of the ribbon separately, with the tuning frequencies slightly apart. From the patent:
"When the adjustments have been finalised, the block and spring are held in place by cement or other setting medium. By having the two halves of the ribbon separately adjustable it is possible to arrange that the motional impedance curves of the two halves are displaced from each other by an amount sufficient to produce a much flatter curve than would be the case with a single ribbon."
Their invention is not as new as they claim - RCA's 77-A, B and C microphones, and their KU-2a, all had centre clamps to separate pressure and velocity components.
Technical Description:
Description taken from an advert in the August 1959 edition of Tape Recording and HI-Fi Magazine:
A worthy link In the chain between live sound and perfect recording, the Cadenza ribbon microphone has been designed to give performance of the level of studio equipment, while remaining In the medium price range. It can be used as either a low or high Impedance microphone to suit any type of equipment and to give almost unlimited cable length without line transformers. The entirely new arrangement of ribbon and magnet gives an output which Is flat to within close limits over the wide range from 50 Hz. to 12,000 Hz. This enables the user to record the full gamut of symphony orchestra, cathedral organ, or the strong rhythmic bass and percussive highlights which add so much to the drive of jazz. Even the solo piano, normally the most difficult Instrument, Is faithfully reproduced.
Prices: Microphone with dual impedance head in presentation case, 8 guineas. Microphone (dual Impedance head) and tripod desk stand, with 11 ft. of cable, 10 guineas.
Further Reading:
A post about the Cadenza at the Xaudia blog.
British patent number GB810064, granted in 1959 for the Cadenza's motor.
A post at Russell Technologies including some good internal photos of the Cadenza ribbon microphone.
The following advertisement appeared in Tape Recording Magazine, in March 1960:


