GEC BCS 2373
Manufacturer:
GECModel:
BCS 2373Country of Manufacture:
United KingdomMicrophone Type:
RibbonPolar Pattern:
Figure 8Production Start Year:
1947Rarity:
3
Microphone History:
MoMics View
Manufactured by GEC (General Electric Company, UK), the BCS 2373 was introduced in the postwar period as a professional ribbon microphone for studio and broadcast applications. It shares much of its internal design with GEC’s other ribbon models, but the 2373 was specifically tailored for studio use, with a more open grille and thumb screw terminals.
As an aside, the GEC patent is slightly odd, in that the major innovation is that the pole pieces are held in place by the magnetic field alone, with no mechanical fasteners. That is to say the major innovation is something that they have left out, rather than something they have added to the system. The implication being that other manufacturers MUST use a screw, bolt or other fastener, or else risk infringing the patent. It would have been interesting to see how that one would stand up in court!
Three models were available - the 2373 had a low impedance output of 30 ohms, whereas the much rarer 2372 and 2372-S models had impedances of 600 ohms and 300 ohms respectively.
From HiFi Yearbook (UK) 1957
G.E.C. Senior Ribbon Microphone BCS2372 & BCS2373.
Response 200-14,000 Hz. ± I dB, 50-200 Hz. ± 2.5 dB.
BCS2372 (600 ohms) - 68 dB ref. I v/dyne/cm2.
BCS2373 (15 ohms) - 93 dB ref. l v/dyne/cm2 Built-in trans. " captive head " terminals at rear.
Price both models £18 18s.
G.E.C. Studio Ribbon Microphone BCS2372S.
Response 50-1 4,000 c.p.s. ± 1 dB.
O.c.s. - 79 dB, 250 ohms ref. l v/dyne/cm2. Price £19 19s.
Technical Description:
- Output Impedance: 30 ohms for balanced to earth input. A front mounting silencing switch is available to special order. Frequency response: ± I db. 200-14,000 Hz. and ±2.5 db. 50-200 Hz.referred to the level at 400 Hz.
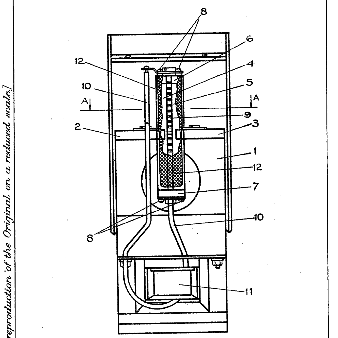
- cylindrical pole pieces attached to a large horseshoe magnet, held in place by the magnetic field along The design of the microphone is described in this patent from 1947.
