Aiwa VM-15
Manufacturer:
AiwaModel:
VM-15Country of Manufacture:
JapanMicrophone Type:
RibbonPolar Pattern:
Figure 8Production Start Year:
1957Rarity:
3
Audio Recordings:
Speech (male) recorded with an Aiwa VM-15 ribbon microphone.
Multiple quality options available
Nylon string guitar recorded with an Aiwa VM-15 ribbon microphone.
Multiple quality options available
Impulse Response File:
Impulse Response file of Aiwa VM-15 ribbon microphone.
Aiwa_VM15_IR.wav
Frequency Response:

Microphone History:
Due to its long history, the VM-15's logo has changed twice.
Early production lots featured the earlier generation round AIWA logo printed in the center of the front of the unit (see photo), which was later changed to the cursive AIWA logo, and later to the 1st generation uppercase AIWA logo.
Aiwa started producing microphones from the early 1950s. By 1956, the company was designated as a technical guidance factory by the NHK Broadcasting Technology Research Laboratories, reflecting the technical quality of it's products. Throughout the following decades, Aiwa produced various styles of microphones with their ribbon microphones offerings aimed at professional and broadcasting use.
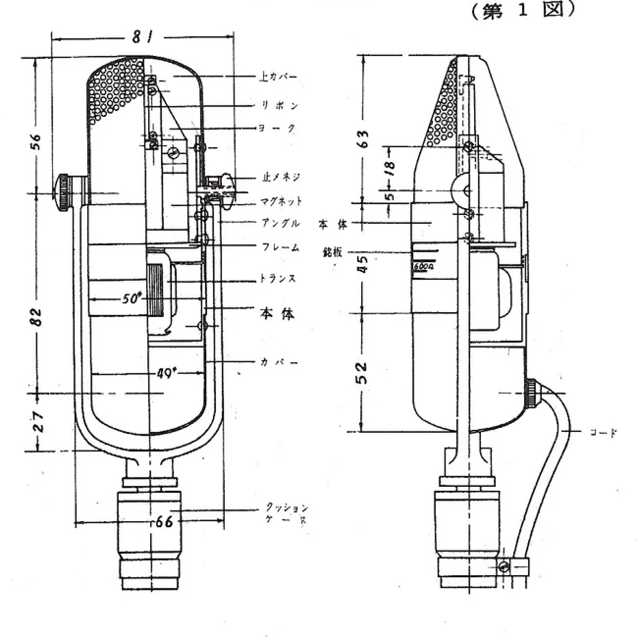
Technical Description:
- Frequency response: 50 - 15,000 Hz ±5dB
- Impedance: 600Ω or 50KΩ ±30%
- Sensitivity: -80bB or higher (600Ω)
- Released: 1957
- Price (then): ¥18,200
- Mounting Thread: PT1/2 pipe thread with W5/16 adapter
- Directivity: Bidirectional
- Induced Noise Level: -13dB
- Dimensions (mm): 50Φ x 165
- Weight (g): 1kg (3m cord, including outlet)
- Cord: 2m with 21P3B plug
- Notes: Equivalent to JIS Class 1


